1. Disconnect the negative battery cable.
2. Remove the intake maniforld.(see INTAKE-AIR SYSTEM REMOVAL/INSTALLATION.)
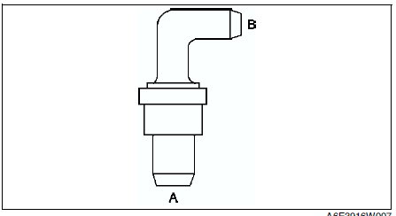
3. Remove the PCV valve.
4. Blow through the valve and verify that air flows as specified.

Specification

Egr valve inspection
Three-way catalytic converter (twc) inspectionMazda 6 Service Manual: Cooling system service warnings
COOLING SYSTEM SERVICE WARNINGS
Warning
Never remove the radiator cap or loosen the radiator drain plug
while the engine is running, or when the engine and radiator are hot.
Scalding coolant and steam may shoot out and cause serious injury. It may
also damage the engine and cooling sys ...
Mazda 6 Service Manual: Procedures for determining the location of a malfunction
System Wiring Diadram
PCM
1. Check the display of DTC U0121 and/or U0155, using the SST (WDS or
equivalent). (See DTC TABLE.)
2. Referring to the following table, determine the malfunctioning part of the
CAN system.
ABS/TCS HU/CM or DSC HU/CM
1. Accec and monitor the PCM MSG and IC MSGo ...